印刷
ページ番号:12425
更新日:2026年2月27日
ここから本文です。
奈良市消費者物価指数(閲覧方法)
e-Stat(政府統計の総合窓口)
1.消費者物価指数 月報(閲覧方法)
閲覧手順
- 消費者物価指数 2020年基準消費者物価指数 月報|ファイル|統計データを探す|政府統計の総合窓口をクリックしてしてください。
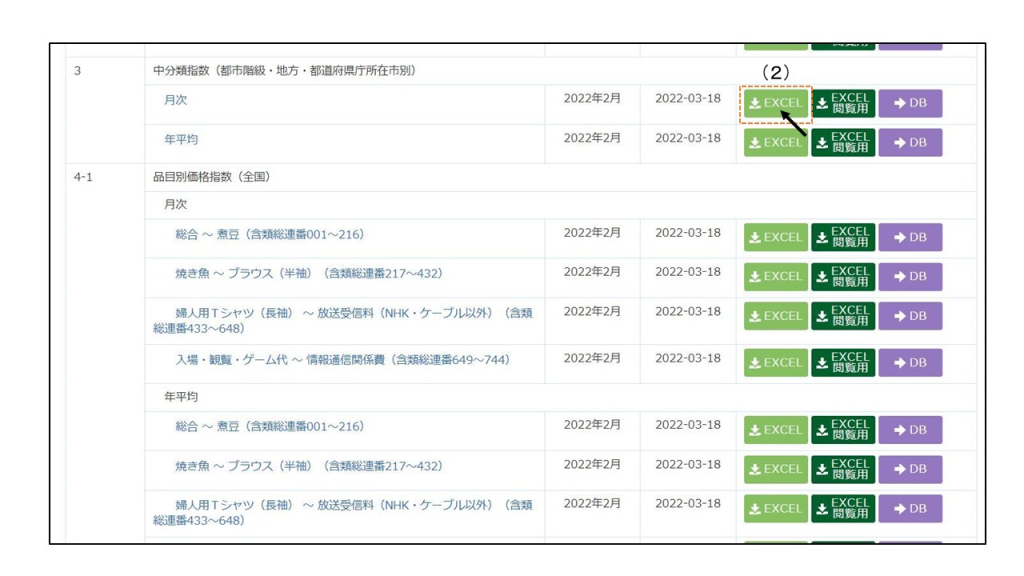
- 閲覧したい調査年月をクリックしてください。(下記(1)参照)
- 「3.中分類指数(都市階級・地方・大都市圏・都道府県庁所在市別)」の「月次」のExcelボタンをクリックし、データをダウンロードしてください。(下記(2)参照)


2.消費者物価指数 長期時系列データ(閲覧方法)
閲覧手順
- 消費者物価指数 2020年基準消費者物価指数 長期時系列データ 都市階級・地方・都道府県庁所在市別中分類指数 都市階級・地方・都道府県庁所在市別中分類指数奈良市|ファイル|統計データを探す|政府統計の総合窓口をクリックして、上記のページにアクセスしてください。
- Excelボタンをクリックして、データをダウンロードしてください。(下記(1)参照)
